FireDot.com

4. Small Work (24 in. (61 cm) diameter x 6 in. (15 cm) depth maximum)

Two nozzles are available for small work protection: High proximity and low proximity.

The 1H nozzle, Part No. 551029, is used for high proximity work protection. This nozzle is a one (1) flow nozzle. The nozzle must be located anywhere on the perimeter of the appliance, 24 in. to 48 in. (61 to 122 cm) above the top edge of the work and aimed at the center of the work. See Figure 3-6.

The 1L nozzle, Part No. 551026, is used for high proximity work protection. This nozzle is a one (1) flow nozzle. The nozzle must be located anywhere on the perimeter of the appliance, 13 in. to 24 in. (33 to 61 cm) above the top edge of the work and aimed at the center of the work. See Figure 3-6.

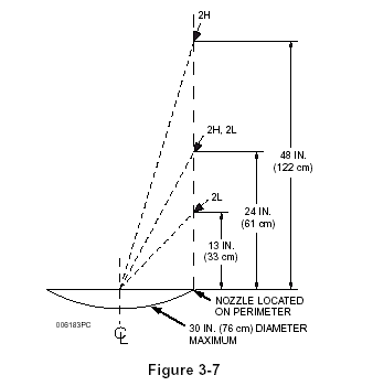
4. Large Work (Greater than 24 in. to 30 in. (61 to 76 cm) diameter x 8 in. (20 cm) depth maximum)

Two nozzles are available for large work protection: High proximity and low proximity.

The 2H nozzle, Part No. 551028, is used for high proximity work protection. This nozzle is a two (2) flow nozzle. The nozzle must be located anywhere on the perimeter of the appliance, 24 in. to 48 in. (61 to 122 cm) above the top edge of the work and aimed at the center of the work. See Figure 3-7.

The 2L nozzle, Part No. 551027, is used for low proximity work protection. This nozzle is a two (2) flow nozzle. The nozzle must be located anywhere on the perimeter of the appliance, 13 in. to 24 in. (33 to 61 cm) above the top edge of the work and aimed at the center of the work. See Figure 3-7.



PREVIOUS NEXT  

                                                             Copyright © Gallagher Fire
All rights reserved
Last modified: October, 2010