FireDot.com

6. Small Griddle (1080 sq. in. (6968 sq. cm) x 36 in. (91 cm) longest side maximum)

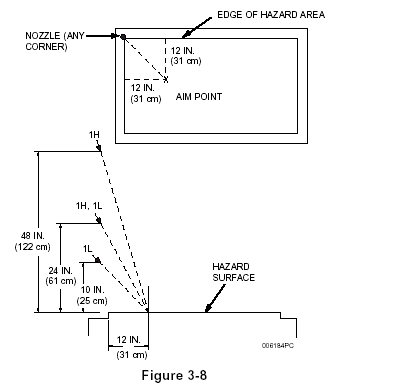
Two nozzles are available for small griddle protection: High proximity and low proximity.

The 1H nozzle, Part No. 551029, is used for high proximity griddle protection. This nozzle is a one (1) flow nozzle. The nozzle must be located above any corner of the hazard surface, 24 in. to 48 in. (61 to 122 cm) above the cooking surface of the appliance and aimed at a point 12 in. (31 cm) over and 12 in. (31 cm) in from the corner below the nozzle. See Figure 3-8.

The 1L nozzle, Part No. 551026, is used for low proximity griddle protection. This nozzle must be located above any corner of the hazard surface, 10 in. to 24 in. (25 to 61 cm) above the cooking surface of the appliance and aimed at a point 12 in. (31 cm) over and 12 in. (31 cm) in from the corner below the nozzle. See Figure 3-8.

6a. Small Griddle (1080 sq. in. (6968 sq. cm) x 36 in. (91 cm) longest side maximum) Alternate Protection

Two nozzles are available for small griddle protection alternate protection: High proximity and low proximity.

The 2H nozzle, Part No. 551028, is used for high proximity griddle protection. This nozzle is a two (2) flow nozzle. The nozzle must be located 0 to 6 in. (0 to 15 cm) from the short side of the hazard surface, 24 in. to 48 in. (61 to 122 cm) above the cooking surface of the appliance and aimed at the center of the hazard area. See Figure 3-8a.

The 2L nozzle, Part No. 551027, is used for low proximity griddle protection. This nozzle is a two (2) flow nozzle. The nozzle must be located 0 to 6 in. (0 to 15 cm)  from the short side of the hazard surface, 13 in. to 24 in. (33 to 61 cm) above the cooking surface of the appliance and aimed at the center of the hazard area. See Figure 3-8a.



PREVIOUS NEXT  

                                                             Copyright © Gallagher Fire
All rights reserved
Last modified: October, 2010